对于单相故障,故障相电压超前故障相电流约80度左右,实际上就是短路阻抗角,也即线路阻抗角。





































































编辑:黄飞
相关热词:#智能电网
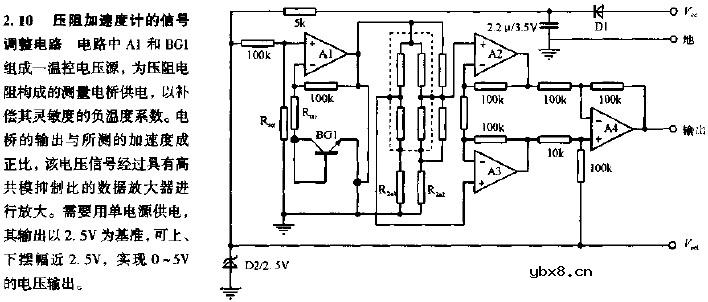
压阻加速度计的信号调整电路
时间:2026-03-06
串口鼠标接线图
时间:2026-03-06
单片集成电路闪光器
时间:2026-03-06
电腊烛电路图
时间:2026-03-06
电容器的妙用——多用调节器
时间:2026-03-06
win10隐藏的实用功能介绍与xbox登录失败解决...
时间:2026-03-06
苹果2017款MacBook Air将成为史上最便宜Mac...
时间:2026-03-06
电扇异常声音探测器
时间:2026-03-06
多用途台灯
时间:2026-03-06
Macbook Pro最大竞争对手--戴尔XPS15窄边框...
时间:2026-03-06
配电变压器的工作原理和作用
时间:2026-03-05
太阳能逆变器作用
时间:2026-03-05
低压配电方式有三种 低压配电的作用
时间:2026-03-05
电力系统中性点常用接地方式特点及适用范围
时间:2026-03-05
智能电网存储建设体系构建方案解析
时间:2026-03-05
中线安防保护器对电网中三次谐波的治理
时间:2026-03-05
什么是单母线接线?主接线的普遍规律
时间:2026-03-05
SOP配电网柔性互联技术的应用和发展
时间:2026-03-05
智能电网包括什么?它的先进性和优势是?
时间:2026-03-05
浅谈智能电网的安全设计
时间:2026-03-05