传感器的使用方法及各种数据分析
| ①最小检测物体与透镜直径、灵敏度的关系 | ||||||||||||||||||||||||||||||||||||||||||||||||||||||
| ||||||||||||||||||||||||||||||||||||||||||||||||||||||
| ②段差检测 | ||||||||||||||||||||||||||||||||||||||||||||||||||||||
| 通过可检测段差和设定距离进行选择(代表例)
| ||||||||||||||||||||||||||||||||||||||||||||||||||||||
| ||||||||||||||||||||||||||||||||||||||||||||||||||||||
| ||||||||||||||||||||||||||||||||||||||||||||||||||||||
| ③M.S.R.功能(Mirror Surface Rejection:镜面体光泽清除) | ||||||||||||||||||||||||||||||||||||||||||||||||||||||
| 〔原理〕 | ||||||||||||||||||||||||||||||||||||||||||||||||||||||
| 利用回归反射型的光电传感器内置的偏光过滤器和回归反射板的特性,只接受回归反射板的反射光的功能、结构。 | ||||||||||||||||||||||||||||||||||||||||||||||||||||||
| 通过投光侧偏光过滤器的光将变为横向偏光。 | ||||||||||||||||||||||||||||||||||||||||||||||||||||||
| 反射到回归反射板三面直角棱镜的光线,其偏光方向将从横向变为纵向。 | ||||||||||||||||||||||||||||||||||||||||||||||||||||||
| 其反射光将通过受光侧的偏光过滤器,到达受光元件。 | ||||||||||||||||||||||||||||||||||||||||||||||||||||||
| ||||||||||||||||||||||||||||||||||||||||||||||||||||||
| 〔目的〕 | ||||||||||||||||||||||||||||||||||||||||||||||||||||||
| 用于对表面为镜面状的检测物体进行稳定检测的一种方法。 | ||||||||||||||||||||||||||||||||||||||||||||||||||||||
| 这种检测物体发出的反射光,其偏光方向保持横向,所以无法通过受光侧的偏光过滤器。 | ||||||||||||||||||||||||||||||||||||||||||||||||||||||
| 〔例〕 | ||||||||||||||||||||||||||||||||||||||||||||||||||||||
| 检测物体的表面粗糙,没有光泽的情况下(②),即使没有M.S.R.功能也能检测。 | ||||||||||||||||||||||||||||||||||||||||||||||||||||||
| 相反,检测物体的表面光滑且带光泽的情况下(③),没有M.S.R.功能则无法进行稳定检测。 | ||||||||||||||||||||||||||||||||||||||||||||||||||||||
| ①没有检测物体的情况下 | ||||||||||||||||||||||||||||||||||||||||||||||||||||||
| ||||||||||||||||||||||||||||||||||||||||||||||||||||||
| 投光部发出的光照射到反射板,并回到受光部。 | ||||||||||||||||||||||||||||||||||||||||||||||||||||||
| ②检测物体没有光泽的情况下 | ||||||||||||||||||||||||||||||||||||||||||||||||||||||
| ||||||||||||||||||||||||||||||||||||||||||||||||||||||
| 投光部发出的光被检测物体遮蔽,不到达反射板,也不回到受光部。 | ||||||||||||||||||||||||||||||||||||||||||||||||||||||
| ③检测物体的表面光滑且有光泽的情况下(例:电池、瓶罐等) | ||||||||||||||||||||||||||||||||||||||||||||||||||||||
| ||||||||||||||||||||||||||||||||||||||||||||||||||||||
| 投光部发出的光通过检测物体反射,该反射光将回到受光部。 | ||||||||||||||||||||||||||||||||||||||||||||||||||||||
| 〔注意〕 | ||||||||||||||||||||||||||||||||||||||||||||||||||||||
| 对光泽度非常高的检测物体和粘贴胶片等的光泽物体进行检测的情况下,有时动作会不稳定。 | ||||||||||||||||||||||||||||||||||||||||||||||||||||||
| 这样的情况下,请将传感器相对于检测物体的表面倾斜安装。 | ||||||||||||||||||||||||||||||||||||||||||||||||||||||
| 带M.S.R.功能的回归反射型 | ||||||||||||||||||||||||||||||||||||||||||||||||||||||
| ||||||||||||||||||||||||||||||||||||||||||||||||||||||
| 使用M.S.R.功能商品的情况下,请务必使用本公司的反射板。 | ||||||||||||||||||||||||||||||||||||||||||||||||||||||
| ||||||||||||||||||||||||||||||||||||||||||||||||||||||
| 无M.S.R.功能的回归反射型 | ||||||||||||||||||||||||||||||||||||||||||||||||||||||
| 无M.S.R.功能的回归反射型对有光泽的物体进行检测的情况下,请将传感器相对于检测物体倾斜设置,避免正反射。 | ||||||||||||||||||||||||||||||||||||||||||||||||||||||
| ||||||||||||||||||||||||||||||||||||||||||||||||||||||
| 透明体传感器选定方法 | ||||||||||||||||||||||||||||||||||||||||||||||||||||||
| 请按以下步骤选定。 | ||||||||||||||||||||||||||||||||||||||||||||||||||||||
| ||||||||||||||||||||||||||||||||||||||||||||||||||||||
④表面颜色与光源的反射率 | ||||||||||||||||||||||||||||||||||||||||||||||||||||||
| 表面颜色的反射率特性 | ||||||||||||||||||||||||||||||||||||||||||||||||||||||
| ||||||||||||||||||||||||||||||||||||||||||||||||||||||
| 可判别颜色标记的颜色 | ||||||||||||||||||||||||||||||||||||||||||||||||||||||
| 适用传感器光源色:
| ||||||||||||||||||||||||||||||||||||||||||||||||||||||
| RGB光源型能满足所有组合。 | ||||||||||||||||||||||||||||||||||||||||||||||||||||||
| ||||||||||||||||||||||||||||||||||||||||||||||||||||||
| 数值是根据底色和标记的反射光比率的代表例。 | ||||||||||||||||||||||||||||||||||||||||||||||||||||||
| ||||||||||||||||||||||||||||||||||||||||||||||||||||||
| ⑤自我诊断功能 | ||||||||||||||||||||||||||||||||||||||||||||||||||||||
|
自我诊断功能,是指对设置后的环境变化,特别是环境温度变化的余度进行自我诊断,通过显示灯和输出进行通知的功能。有利于提早发现因故障和长年变化引起的传感器污染、光轴偏位等。 | ||||||||||||||||||||||||||||||||||||||||||||||||||||||
| 〔原理〕 | ||||||||||||||||||||||||||||||||||||||||||||||||||||||
| 对从传感器的稳定状态向不稳定状态的变化进行通知的功能,可与显示功能和输出功能明显区分。 | ||||||||||||||||||||||||||||||||||||||||||||||||||||||
| ||||||||||||||||||||||||||||||||||||||||||||||||||||||
| 稳定显示灯(绿色LED) | ||||||||||||||||||||||||||||||||||||||||||||||||||||||
| 对设置后的环境变化(温度、电压、灰尘等)的余度进行自我诊断后,用显示灯显示。(如果余度足够,则会亮灯)。 | ||||||||||||||||||||||||||||||||||||||||||||||||||||||
| 动作显示灯(橙色LED) | ||||||||||||||||||||||||||||||||||||||||||||||||||||||
| 显示输出的状态。 | ||||||||||||||||||||||||||||||||||||||||||||||||||||||
| ||||||||||||||||||||||||||||||||||||||||||||||||||||||
| 对显示灯表示的余度进行输出后,进行通知。 | ||||||||||||||||||||||||||||||||||||||||||||||||||||||
| ||||||||||||||||||||||||||||||||||||||||||||||||||||||
| 〔目的〕 | ||||||||||||||||||||||||||||||||||||||||||||||||||||||
| 能预测光电传感器的光轴偏离、透镜面(传感器面)的污染、地面和背景的影响、外部干扰的状态等传感器的异常和故障,有利于进行养护,以便设备稳定工作。 | ||||||||||||||||||||||||||||||||||||||||||||||||||||||
| 〔例〕入光时ON的情况下 | ||||||||||||||||||||||||||||||||||||||||||||||||||||||
| ||||||||||||||||||||||||||||||||||||||||||||||||||||||
| 〈适用机型〉 | ||||||||||||||||||||||||||||||||||||||||||||||||||||||
| ||||||||||||||||||||||||||||||||||||||||||||||||||||||
| 关于E3Z的自我诊断输出型,请咨询。 | ||||||||||||||||||||||||||||||||||||||||||||||||||||||
| ⑥外部诊断输入功能(投光停止功能) | ||||||||||||||||||||||||||||||||||||||||||||||||||||||
| 〔原理〕 | ||||||||||||||||||||||||||||||||||||||||||||||||||||||
|
通过将对射型投光器的导线「粉」「蓝」间短路,可在任意时间使投光停止。 | ||||||||||||||||||||||||||||||||||||||||||||||||||||||
| 〔目的〕 | ||||||||||||||||||||||||||||||||||||||||||||||||||||||
| 通过该功能,在工作前可进行传感器的动作检查。 | ||||||||||||||||||||||||||||||||||||||||||||||||||||||
| ||||||||||||||||||||||||||||||||||||||||||||||||||||||
| 共通注意事项 ★各商品的注意事项,请参见各商品的「 请正确使用 」。 | ||||||||||||||||||||||||||||||||||||||||||||||||||||||
| ||||||||||||||||||||||||||||||||||||||||||||||||||||||
|
不能作为冲压的安全装置或其他人体保护用 | ||||||||||||||||||||||||||||||||||||||||||||||||||||||
| 安全要点 | ||||||||||||||||||||||||||||||||||||||||||||||||||||||
| 为了确保安全,请务必遵守以下各项目的内容。 | ||||||||||||||||||||||||||||||||||||||||||||||||||||||
| ●传感器布线时 | ||||||||||||||||||||||||||||||||||||||||||||||||||||||
| ||||||||||||||||||||||||||||||||||||||||||||||||||||||
| ●使用环境 | ||||||||||||||||||||||||||||||||||||||||||||||||||||||
|
请勿在有易燃易爆气体的环境下使用。 | ||||||||||||||||||||||||||||||||||||||||||||||||||||||
| 使用注意事项 | ||||||||||||||||||||||||||||||||||||||||||||||||||||||
| ●设计时 | ||||||||||||||||||||||||||||||||||||||||||||||||||||||
| 关于电源复位时间 | ||||||||||||||||||||||||||||||||||||||||||||||||||||||
| 传感器在电源接通后100ms以内进入可检测状态。 | ||||||||||||||||||||||||||||||||||||||||||||||||||||||
| 负载与传感器连接在不同电源时,请务必先接通传感器的电源。此外,不同的情况在各商品的「 请正确使用 」中有所记载。 | ||||||||||||||||||||||||||||||||||||||||||||||||||||||
| 关于电源OFF时 | ||||||||||||||||||||||||||||||||||||||||||||||||||||||
| 请先关闭负载或负载线路的电源,否则在关闭电源时会发生输出脉冲。 | ||||||||||||||||||||||||||||||||||||||||||||||||||||||
| 关于电源的种类 | ||||||||||||||||||||||||||||||||||||||||||||||||||||||
| 不能使用无平滑的全波整流、半波整流电源。 | ||||||||||||||||||||||||||||||||||||||||||||||||||||||
| 关于相互干扰 | ||||||||||||||||||||||||||||||||||||||||||||||||||||||
| 相互干扰,是指受到相邻传感器的光的影响,发生输出不稳定状态的现象。 | ||||||||||||||||||||||||||||||||||||||||||||||||||||||
|
以下是避免相互干扰的方法。 | ||||||||||||||||||||||||||||||||||||||||||||||||||||||
| ||||||||||||||||||||||||||||||||||||||||||||||||||||||
| 关于干扰 | ||||||||||||||||||||||||||||||||||||||||||||||||||||||
| 根据干扰的不同侵入路径、频率成分、波峰值等采取不同的对策。代表性示例如下所示。 | ||||||||||||||||||||||||||||||||||||||||||||||||||||||
| ||||||||||||||||||||||||||||||||||||||||||||||||||||||
| ●传感器布线时 | ||||||||||||||||||||||||||||||||||||||||||||||||||||||
| 关于导线 | ||||||||||||||||||||||||||||||||||||||||||||||||||||||
| 未记录导线延长的长度的情况下,采用0.3mm2以上的导线,且在100m以内。其他情况在各商品的「 请正确使用 」中有所记载。 | ||||||||||||||||||||||||||||||||||||||||||||||||||||||
| 关于导线的拉伸强度 | ||||||||||||||||||||||||||||||||||||||||||||||||||||||
| 布线时请不要超过下表所示的力。 | ||||||||||||||||||||||||||||||||||||||||||||||||||||||
| ||||||||||||||||||||||||||||||||||||||||||||||||||||||
| 同时,请不要在屏蔽线、同轴线上施加拉伸力 | ||||||||||||||||||||||||||||||||||||||||||||||||||||||
| 关于反复弯曲使用 | ||||||||||||||||||||||||||||||||||||||||||||||||||||||
| 通常传感器的导线不能反复弯曲使用。(关于耐弯曲性导线,请参见与可动部的安装页「 与可动部的安装 」)。 | ||||||||||||||||||||||||||||||||||||||||||||||||||||||
| 关于与高电压的区别(布线方法) | ||||||||||||||||||||||||||||||||||||||||||||||||||||||
|
如在同一配管、同一槽内进行高压线、动力线与光电传感器的布线,则可能因感应而导致误动作或破损。原则上请使用其他线路布线或单独金属配管或屏蔽导线。
| ||||||||||||||||||||||||||||||||||||||||||||||||||||||
| 关于未布线的引线处理 | ||||||||||||||||||||||||||||||||||||||||||||||||||||||
| 使用自我诊断输出规格的机型等中,请切断不使用的导线,包上绝缘带等,使其不与其他端子接触。 | ||||||||||||||||||||||||||||||||||||||||||||||||||||||
| 关于传感器电源 | ||||||||||||||||||||||||||||||||||||||||||||||||||||||
|
使用市售的开关调整器时,请将FG(机架接地端子)及G(接地端子)进行接地。 请注意,如不进行接地,可能因电源的开关干扰而导致误操作。 | ||||||||||||||||||||||||||||||||||||||||||||||||||||||
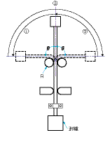
| 传感器控制器 与S3D2的连接示例 | ||||||||||||||||||||||||||||||||||||||||||||||||||||||
| 直流3线式NPN输出型 | ||||||||||||||||||||||||||||||||||||||||||||||||||||||
| S3D2的信号输入切换开关可进行动作的反转。
| ||||||||||||||||||||||||||||||||||||||||||||||||||||||
| ●传感器安装时 | ||||||||||||||||||||||||||||||||||||||||||||||||||||||
| 与可动部的安装 | ||||||||||||||||||||||||||||||||||||||||||||||||||||||
| 对机械手等可动部进行光电传感器的安装时,请讨论使用耐弯曲性导线(机械手导线)的机型。 | ||||||||||||||||||||||||||||||||||||||||||||||||||||||
|
耐弯曲次数标准导线:相对于约1.3万次 | ||||||||||||||||||||||||||||||||||||||||||||||||||||||
| 机械手导线:约50万次为优良。 | ||||||||||||||||||||||||||||||||||||||||||||||||||||||
| 导线的弯曲破坏试验(强韧度断线试验): 一边通电,一边反复「弯曲」,检测到电流被切断为止的「弯曲次数」。 | ||||||||||||||||||||||||||||||||||||||||||||||||||||||
| ||||||||||||||||||||||||||||||||||||||||||||||||||||||
| ||||||||||||||||||||||||||||||||||||||||||||||||||||||
| 弯曲角度、负重、支点的曲率半径等,标准导线与机械手导线的试验条件不同。实际使用条件下的耐弯曲性能,请参考上表记录的数值。 | ||||||||||||||||||||||||||||||||||||||||||||||||||||||
| 关于传感器光纤的固定 | ||||||||||||||||||||||||||||||||||||||||||||||||||||||
| E3X光纤放大器单元采用单触式锁定方式。请用以下方法进行光纤的安装及拆卸。 | ||||||||||||||||||||||||||||||||||||||||||||||||||||||
| ①传感器光纤的安装 | ||||||||||||||||||||||||||||||||||||||||||||||||||||||
| 提起保护盖,将光纤按放大器单元侧面的插入位置标记插入后,放下锁杆。 | ||||||||||||||||||||||||||||||||||||||||||||||||||||||
| ||||||||||||||||||||||||||||||||||||||||||||||||||||||
| 〈使用附件E39-F9的光纤〉 | ||||||||||||||||||||||||||||||||||||||||||||||||||||||
| ||||||||||||||||||||||||||||||||||||||||||||||||||||||
| 〈不可随意切割(带套管)的光纤〉 | ||||||||||||||||||||||||||||||||||||||||||||||||||||||
| ||||||||||||||||||||||||||||||||||||||||||||||||||||||
| ②传感器光纤拆卸 | ||||||||||||||||||||||||||||||||||||||||||||||||||||||
| 提起保护盖,提起锁杆,即可拉出光纤。 | ||||||||||||||||||||||||||||||||||||||||||||||||||||||
| ||||||||||||||||||||||||||||||||||||||||||||||||||||||
| 为了保持光纤的特性,请先确认锁定是否已接触,再拔除光纤。 请在-10~+40℃的温度范围内进行光纤的锁定、锁定解除。 | ||||||||||||||||||||||||||||||||||||||||||||||||||||||
| ●调整时 | ||||||||||||||||||||||||||||||||||||||||||||||||||||||
| 关于光轴调整 | ||||||||||||||||||||||||||||||||||||||||||||||||||||||
| 将光电开关上下左右移动,将其设定在动作显示灯亮(或灯灭)的范围中央。此外,在E3S-C中,由于光轴与机械轴合并在一起,所以安装时只需对照机械轴,便能对光轴进行简单调整。 | ||||||||||||||||||||||||||||||||||||||||||||||||||||||
| ||||||||||||||||||||||||||||||||||||||||||||||||||||||
| 光轴 : 投光器中连接透镜中心和投光光束中心的轴叫光轴。受光器的光轴是连接透镜中心和受光区域中心的轴。机械轴 : 从透镜中心垂直伸出的轴称为机械轴。 | ||||||||||||||||||||||||||||||||||||||||||||||||||||||
| ||||||||||||||||||||||||||||||||||||||||||||||||||||||
| ●使用环境 | ||||||||||||||||||||||||||||||||||||||||||||||||||||||
| 关于耐水性 | ||||||||||||||||||||||||||||||||||||||||||||||||||||||
| 请避免在水中、降雨时及室外使用。 | ||||||||||||||||||||||||||||||||||||||||||||||||||||||
| 关于环境 | ||||||||||||||||||||||||||||||||||||||||||||||||||||||
| 安装在以下场所时,会引起误动作和故障,所以请避免使用。 | ||||||||||||||||||||||||||||||||||||||||||||||||||||||
| ①尘埃多的场所。 | ||||||||||||||||||||||||||||||||||||||||||||||||||||||
| ②阳光直接照射的场所。 | ||||||||||||||||||||||||||||||||||||||||||||||||||||||
| ③产生腐蚀性气体的场所。 | ||||||||||||||||||||||||||||||||||||||||||||||||||||||
| ④接触到有机溶剂等的场所。 | ||||||||||||||||||||||||||||||||||||||||||||||||||||||
| ⑤有振动?冲击的场所。 | ||||||||||||||||||||||||||||||||||||||||||||||||||||||
| ⑥直接接触到水、油、药品的场所。 | ||||||||||||||||||||||||||||||||||||||||||||||||||||||
| ⑦湿度高,可能会结露的场所。 | ||||||||||||||||||||||||||||||||||||||||||||||||||||||
| 耐环境型传感器(特氟龙*型) | ||||||||||||||||||||||||||||||||||||||||||||||||||||||
| E32-T11F/T12F/T14F/T81F-S/D12F/D82F、E3HQ等在上述③、⑥条件下也可使用。 | ||||||||||||||||||||||||||||||||||||||||||||||||||||||
| 特氟龙是为杜邦和Du Pont-Mitsui Fluorochemicals(株)的氟化树脂的注册商标。 | ||||||||||||||||||||||||||||||||||||||||||||||||||||||
| 爆炸性环境下的光纤式光电传感器 | ||||||||||||||||||||||||||||||||||||||||||||||||||||||
| 可将光纤单元设置在危险场所,将放大器单元设置在非危险场所进行使用 | ||||||||||||||||||||||||||||||||||||||||||||||||||||||
| 〈理由〉 | ||||||||||||||||||||||||||||||||||||||||||||||||||||||
| 电气设备的爆炸或火灾的发生,必定是因为同时存在危险环境和火源。由于光能不会成为火源,所以不会引起爆炸和火灾。 但是,由于透镜、本体外壳、光纤的包层等使用的是塑料,沾上溶剂后会造成腐蚀或劣化(模糊等),所以不能使用。 | ||||||||||||||||||||||||||||||||||||||||||||||||||||||
| 〈火源〉 | ||||||||||||||||||||||||||||||||||||||||||||||||||||||
| 是指在危险场所,带有能引起爆炸的能量的电火花和高温部。 | ||||||||||||||||||||||||||||||||||||||||||||||||||||||
| 外部电界的影响 | ||||||||||||||||||||||||||||||||||||||||||||||||||||||
| 无线电收发机在接近光电传感器及其布线附近时,有可能会引起误动作,所以禁止接近。 | ||||||||||||||||||||||||||||||||||||||||||||||||||||||
| ●保养与检查 | ||||||||||||||||||||||||||||||||||||||||||||||||||||||
| 不动作时的确认项目 | ||||||||||||||||||||||||||||||||||||||||||||||||||||||
| 不动作时,请确认以下几点: | ||||||||||||||||||||||||||||||||||||||||||||||||||||||
| ①是否按规定进行布线及连接。 | ||||||||||||||||||||||||||||||||||||||||||||||||||||||
| ②螺钉是否有松动。 | ||||||||||||||||||||||||||||||||||||||||||||||||||||||
| ③光轴调整、灵敏度调整是否已完成。 | ||||||||||||||||||||||||||||||||||||||||||||||||||||||
| ⑤检测物体、工件速度是否符合额定规格。 | ||||||||||||||||||||||||||||||||||||||||||||||||||||||
| ⑤投受光器的透镜面上是否附着有垃圾、灰尘等异物。 | ||||||||||||||||||||||||||||||||||||||||||||||||||||||
| ⑦绝对不能分解、修理。 | ||||||||||||||||||||||||||||||||||||||||||||||||||||||
| 关于透镜外壳 | ||||||||||||||||||||||||||||||||||||||||||||||||||||||
| 光电传感器的透镜外壳基本上是塑料的。请用干布轻轻擦拭污渍。请不要使用稀释剂等有机溶剂。 E3S-C的外壳是金属的,透镜是塑料的。 | ||||||||||||||||||||||||||||||||||||||||||||||||||||||
| ●传感器附件 | ||||||||||||||||||||||||||||||||||||||||||||||||||||||
| 反射板(E39-R3/R37/RS1/RS2/RS3) | ||||||||||||||||||||||||||||||||||||||||||||||||||||||
| 关于使用时 | ||||||||||||||||||||||||||||||||||||||||||||||||||||||
|
①使用内侧粘带时,请先将使用场所附着的油?灰尘等用清洗剂等清洗干净后再粘贴。如有残留油污,将无法安装。 | ||||||||||||||||||||||||||||||||||||||||||||||||||||||
|
②E39-RS1/RS2/RS3请不要用金属和指甲等用力按压。否则会引起功能的劣化。 | ||||||||||||||||||||||||||||||||||||||||||||||||||||||
| ③请不要在容易接触到油和药品的场所使用。 | ||||||||||||||||||||||||||||||||||||||||||||||||||||||
| 关于M8、M12接插件 | ||||||||||||||||||||||||||||||||||||||||||||||||||||||
| 请务必在切断电源后进行接插件的插拔。 | ||||||||||||||||||||||||||||||||||||||||||||||||||||||
| 请务必拿住接插件盖的部分进行接插件的插拔。 | ||||||||||||||||||||||||||||||||||||||||||||||||||||||
| 固定工具要用手来紧固。如使用钳子等,则会造成破损。 | ||||||||||||||||||||||||||||||||||||||||||||||||||||||
| 如果紧固不充分,有时会因振动而导致松动,保护构造将无法发挥效用。 | ||||||||||||||||||||||||||||||||||||||||||||||||||||||
| ●其他 | ||||||||||||||||||||||||||||||||||||||||||||||||||||||
| 代表示例的记载数值 | ||||||||||||||||||||||||||||||||||||||||||||||||||||||
| 代表例中所记载的各种数据、数值不s是作为「额定值.性能」来进行保障的数值,而是某个批量中任意抽取的样值,所以请作为参考的标准进行使用。「最小检测物体」「各种特性数据」「段差检测数据」「不同规格的选择一览表」等都是代表例的对象。 | ||||||||||||||||||||||||||||||||||||||||||||||||||||||
| 关于清扫 | ||||||||||||||||||||||||||||||||||||||||||||||||||||||
| 有机溶剂会腐蚀产品表面,所以请勿使用。 | ||||||||||||||||||||||||||||||||||||||||||||||||||||||
| 请用柔软的干布进行清扫。 更多传感器知识 | ||||||||||||||||||||||||||||||||||||||||||||||||||||||
东芝牌RAC-45NHE型空调机电路图
时间:2026-03-04
杜鹃牌XPB2-3型洗衣机电路图
时间:2026-03-04
干衣机电路图
时间:2026-03-04
古桥牌KC-30DE型牌窗式空调机电路图
时间:2026-03-04
好乐牌KC-42R型窗式空调机电路图
时间:2026-03-04
佳乐牌KCS-12型窗式空调机电路图
时间:2026-03-04
江南牌KC-20型窗式空调器电路图
时间:2026-03-04
江南牌KCD-31型窗式空调器电路图
时间:2026-03-04
金羚牌XQB30-5型全自动洗衣机电路图
时间:2026-03-04
日产AW B310B型洗衣机控制器电路图
时间:2026-03-04
瞬间抑制二极管(TVS)/瞬间抑制二极管(TVS)是...
时间:2026-03-04
常用整流二极管型号大全
时间:2026-03-04
S/HS固态继电器原理简介
时间:2026-03-04
稳压二极管的选用和代换
时间:2026-03-04
TVS器件的电特性有哪些
时间:2026-03-04
TVS二极管的分类/应用,TVS二极管的特点/选用...
时间:2026-03-04
快恢复二极管,快恢复二极管是什么意思
时间:2026-03-04
PN结温度传感器工作原理是什么?
时间:2026-03-04
双向二极管起什么作用?
时间:2026-03-04
半导体材料的主要种类有哪些?
时间:2026-03-04