光电耦合器电路
1光电耦合器开关电路
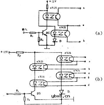
对于开关电路,往往要求控制电路和开关电路之间要有很好的电隔离,这对于一般的电子开关来说是很难做到的,但采用光电耦合器就很容易实现了。图46?中(a)所示电路就是用光电耦合器组成的简单开关电路。
在图中,当无脉冲信号输入时,三极管BG处于截止状态,发光二极管无电流流过不发光,则a、b两端电阻非常大,相当于开关“断开”。当输入端加有脉冲信号时,BG导通,发光二极管发光,则a、b两端电阻变得很小,相当于开关“接通”。故称无信号时开关不通,为常开状态。
图46—4中(b)所示电路则为“带闭”状态,因为无信号输入时,虽BG截止,但发光二极管有电流通过而发光,使a、b

两端处于导通状态,相当于开关“接通”。当有信号输入时,BG导通,由于BG的集电结压降在0.3V以下,远小于发光二极管的正向导通电压,所以发光二极管无电流流过不发光,则a、b两端电阻极大,相当于开关“断开”,故称“常闭”式。
可见,开关a、b端在电路中不受电位高低的限制,但在使用中应满足a端电位为正,b端为负,并使U&ab>3V为好,同时还应注意Uab应小于光电三极管的BVceo。
依据图46—4的原理,光电耦合器可以组成如图46—5中(a)、(b)等多种形式。

图中(a)为单刀双掷开关电路,其中外接二极管D的作用,是保证输入正脉冲信号时“od”组接通,“ob”组关断。图中(b)为双刀双掷开关电路,无输入信号时,BG截止,“ob”与“od”组断开,“oa”与“oc”组接通;BG导通(即有信号输入时),“ob”与“od”组接通,而“oa”与“oc”组断开。它们适于自动控制和遥控设备中使用。
2光耦合的可控硅开关电路
图46—6中(a)所示电路为光耦合器构成的可控硅开关电路。可控硅SCR的触发电压取自电阻R,其大小由通过光电三极管的电流决定,直接由输入电压控制。该电路简单,控制端与输出端有可靠的电隔离。

图中(b)所示电路,为控制负载为纯电阻(如白炽灯泡)的开关电路,图中R1的阻值由下式确定:R1=V/1.2A,1.2A为双向开关的额定电流。当主电网电压为220V时,V=/2·220=308V,则R1=308/1.2=250Ω.所以,可控硅SCR的规格应依R1的大小进行选择。
当开关电路的负载为感性负载(如电动机等),则由于流过感性负载(线圈)的电流与电压的相位不同,需增加相应元件,方能保证开关电路的正常工作,如图46?所示。
图中双向可控硅SCR的触发电流,是由R3与C的不同数值而决定的,见表46—1。
表46—1 IG、R3及三者关系表
/IG(Ma)/R3(kΩ)/C(μF)
/15/2.4/0.1
/30/1.2/0.2
/50/0.8/0.3/
图46—7的开关电路,特别适于遥控时选用。

3 光电耦合器电平转换电路
对于不同电平的转换电路或输入、输出电路的电位需要分开时,采用光电耦合器就显得十分方便了。
中图46—9的(a)与(b)图示电路,就是5V电源的TTL集成电路与15V电源的HTL集成电路,相互连接进行电平转换的基本电路。

图(a)中,TTL门电路导通时,即输出低电平,发光二极管导通,光电三极管输出高电平;TTL门电路截止时,发光二极管截止,光电三极管输出低电平。
图(b)中,则是利用TTL截止输出高电平,发光二极管导通,光电三极管输出低电平;TTL导通输出低电平,发光二极管截止,光电三极管输出高电平。
在进行具体应用时,因CMOS集成电路在低电平时的电流只有1~2mA,难以直接驱动所接的负载,故一般需加一级三极管放大电路来驱动。
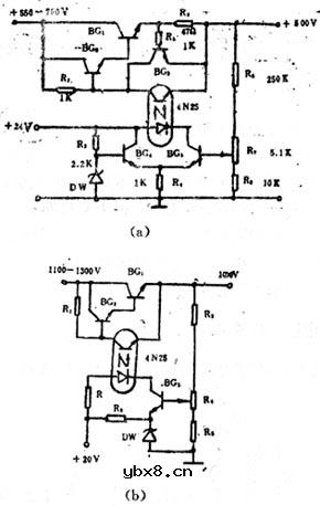
4光电耦合器高压稳压电路
串联型稳压电路,比较放大管需选用耐压高的三极管,若利用光电耦合器的输入与输出间绝缘良好的特点,便可实现高压控制。
图46—10中的(a)与(b)所示的电路,就是利用光电耦合器的高压稳压电路。

图(a)中,当输出电压因某种原因导致升高时,则BG5的偏压增加,发光二极管的正向电流增大,使光电三极管集电结电压减小,即引起调整管BG1发射结电压下降,其集电结电压上升,从而使原来升高的输出电压减小,保持输出电压的稳定。BG3管为限流保护电路。光电耦合器是工作在放大状态的。
5用于双稳态输出的光耦合电路
图46—8中(a)所示电路,为光电耦合器控制的双稳态输出开关电路,它的特点是由于光电耦合开关接在两管的发射极回路上,故能有效地解决输出与负载间的隔离问题。

图46—8中(b)所示电路为光电耦合开关的施密特电路。当输入电压U1为低电平时,光电三极管C、e间呈高电阻,BG1导通,BG2截止,则输出电压U0为低电平;当输入电压U1大于鉴幅值时,光电三极管c、e间呈低电阻,则BG1截止,BG2导通,输出的电压U0为高电平。调节电阻R3,即改变鉴幅电平。

6 光电耦合器组成开关电路
图1电路中,当输入信号ui为低电平时,晶体管V1处于截止状态,光电耦合器B1中发光二极管的电流近似为零,输出端Q11、Q12间的电阻很大,相当于开关“断开”;当ui为高电平时,v1导通,B1中发光二极管发光,Q11、Q12间的电阻变小,相当于开关“接通”.该电路因Ui为低电平时,开关不通,故为高电平导通状态.同理,图2电路中,因无信号(Ui为低电平)时,开关导通,故为低电平导通状态.
7 光电耦合器组成逻辑电路
图3电路为“与门”逻辑电路。其逻辑表达式为P=A.B.图中两只光敏管串联,只有当输入逻辑电平A=1、B=1时,输出P=1.同理,还可以组成“或门”、“与非门”、“或非门”等逻辑电路.
3.组成隔离耦合电路
电路如图4所示.这是一个典型的交流耦合放大电路.适当选取发光回路限流电阻Rl,使B4的电流传输比为一常数,即可保证该电路的线性放大作用。
8光电耦合器组成门厅照明灯自动控制电路
电路如图6所示。A是四组模拟电子开关(S1~S4):S1,S2,S3并联(可增加驱动功率及抗干扰能力)用于延时电路,当其接通电源后经R4,B6驱动双向可控硅VT,VT直接控制门厅照明灯H;S4与外接光敏电阻Rl等构成环境光线检测电路。当门关闭时,安装在门框上的常闭型干簧管KD受到门上磁铁作用,其触点断开,S1,S2,S3处于数据开状态。晚间主人回家打开门,磁铁远离KD,KD触点闭合。此时9V电源整流后经R1向C1充电,C1两端电压很快上升到9V,整流电压经S1,S2,S3和R4使B6内发光管发光从而触发双向可控硅导通,VT亦导通,H点亮,实现自动照明控制作用。房门关闭后,磁铁控制KD,触点断开,9V电源停止对C1充电,电路进入延时状态。C1开始对R3放电,经一段时间延迟后,C1两端电压逐渐下降到S1,S2,S3的开启电压(1.5v)以下,S1,S2,S3恢复断开状态,导致B6截止,VT亦截止,H熄来,实现延时关灯功能。

更多:光电耦合器电路
相关热词:#光电耦合器
东芝牌RAC-45NHE型空调机电路图
时间:2026-03-04
杜鹃牌XPB2-3型洗衣机电路图
时间:2026-03-04
干衣机电路图
时间:2026-03-04
古桥牌KC-30DE型牌窗式空调机电路图
时间:2026-03-04
好乐牌KC-42R型窗式空调机电路图
时间:2026-03-04
佳乐牌KCS-12型窗式空调机电路图
时间:2026-03-04
江南牌KC-20型窗式空调器电路图
时间:2026-03-04
江南牌KCD-31型窗式空调器电路图
时间:2026-03-04
金羚牌XQB30-5型全自动洗衣机电路图
时间:2026-03-04
日产AW B310B型洗衣机控制器电路图
时间:2026-03-04
三相异步电动机原理
时间:2026-03-04
电度表的工作原理
时间:2026-03-04
三相异步电动机的拆装详讲
时间:2026-03-04
三相异步电动机的七种调速方式
时间:2026-03-04
电风扇红外遥控器2
时间:2026-03-04
由三个接触器组成的电动机正反转控制电路图
时间:2026-03-04
电动机单线远程正反转控制电路图
时间:2026-03-04
USB转232电路图
时间:2026-03-04
东芝牌RAC-45NHE型空调机电路图
时间:2026-03-04
农用自动供水器原理图
时间:2026-03-04