无偏二极管的制作方法
材料
材料有硅粉、铬粉、锗粉、磷、钨丝电极、载玻片、可伐合金、镍铬丝、金属锑、氩气和氮气等。
仪器
仪器有超净室、DMX-220A型真空镀膜机、显微镜。
制作方法
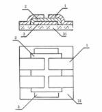
图1为二极管外观图,其中31是方形载玻片,作二极管的衬板;3是铬层;2是硅层;1是锑层。制作方法见图2,图中的34是镀膜机转轴;26是模板;32是载料圆盘;31是方形载玻片;33是弹性压片;23是蒸镀膜用电极。

图1 玻璃衬板无偏二极管外观结构图
铬层3制作过程为:将镍铬丝电极装在图2中的23处,将模板26和方形载玻片31放在载料圆盘上。抽真空至5×10-3Pa,将镍铬丝通电至发红,由于铬的升华特性,载玻片上便可得到一层好的铬膜层。?
硅层2制作过程为:将螺旋型电极装在图2中的23处,电极上涂硅粉,将模板26和镀好铬的载玻片31放在载料圆盘上。抽真空至5×10-3 Pa,再加1.5 Pa氮气,通电将电极加热使硅熔化,在铬层上便形成了一层硅膜。?
锑层1制作过程为:将螺旋电极装在图2中的23处,将锑块夹到螺旋电极的螺旋中,将模板26和镀好铬和硅的载玻片31放在载料圆盘上。抽真空至5×10-3Pa,将电极通电,便可得到镀锑层。二极管制作结束。
图2 无偏二极管制作方法图
东芝牌RAC-45NHE型空调机电路图
时间:2026-03-04
杜鹃牌XPB2-3型洗衣机电路图
时间:2026-03-04
干衣机电路图
时间:2026-03-04
古桥牌KC-30DE型牌窗式空调机电路图
时间:2026-03-04
好乐牌KC-42R型窗式空调机电路图
时间:2026-03-04
佳乐牌KCS-12型窗式空调机电路图
时间:2026-03-04
江南牌KC-20型窗式空调器电路图
时间:2026-03-04
江南牌KCD-31型窗式空调器电路图
时间:2026-03-04
金羚牌XQB30-5型全自动洗衣机电路图
时间:2026-03-04
日产AW B310B型洗衣机控制器电路图
时间:2026-03-04
瞬间抑制二极管(TVS)/瞬间抑制二极管(TVS)是...
时间:2026-03-04
常用整流二极管型号大全
时间:2026-03-04
S/HS固态继电器原理简介
时间:2026-03-04
稳压二极管的选用和代换
时间:2026-03-04
TVS器件的电特性有哪些
时间:2026-03-04
TVS二极管的分类/应用,TVS二极管的特点/选用...
时间:2026-03-04
快恢复二极管,快恢复二极管是什么意思
时间:2026-03-04
PN结温度传感器工作原理是什么?
时间:2026-03-04
双向二极管起什么作用?
时间:2026-03-04
半导体材料的主要种类有哪些?
时间:2026-03-04