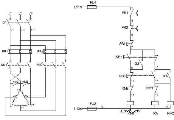
双速电机控制原理图

一、双速电动机简介
双速电动机属于异步电动机变极调速,是通过改变定子绕组的连接方法达到改变定子旋转磁场磁极对数,从而改变电动机的转速。
根据公式;n1=60f/p可知异步电动机的同步转速与磁极对数成反比,磁极对数增加一倍,同步转速n1下降至原转速的一半,电动机额定转速n也将下降近似一半,所以改变磁极对数可以达到改变电动机转速的目的。这种调速方法是有级的,不能平滑调速,而且只适用于鼠笼式电动机。
此图介绍的是最常见的单绕组双速电动机,转速比等于磁极倍数比,如2极/4极、4级/8极,从定子绕组△接法变为YY接法,磁极对数从p=2变为p=1。
∴转速比=2/1=2
二、控制电路分析
1、合上空气开关QF引入三相电源
2、按下起动按钮SB2,交流接触器KM1线圈回路通电并自锁,KM1主触头闭合,为电动机引进三相电源,L1接U1、L2接V1、L3接W1;U2、V2、W2悬空。电动机在△接法下运行,此时电动机p=2、n1=1500转/分。
3、若想转为高速运转,则按SB3按钮,SB3的常闭触点断开使接触器KM1线圈断电,KM1主触头断开使U1、V1、W1与三相电源L1、L2、L3脱离。其辅助常闭触头恢复为闭合,为KM2线圈回路通电准备。同时接触器KM2线圈回路通电并自锁,其常开触点闭合,将定子绕组三个首端U1、V1、W1连在一起,并把三相电源L1、L2、L3引入接U2、V2、W2,此时电动机在YY接法下运行,这时电动机p=1,n1=3000转/分。KM2的辅助常开触点断开,防KM1误动。
4、FR1、FR2分别为电动机△运行和YY运行的过载保护元件。
5、此控制回路中SB2的常开触点与KM1线圈串联,SB2的常闭触点与KM2线圈串联,同样SB3按钮的常闭触点与KM1线圈串联,SB3的常开于KM2线圈串联,这种控制就是按钮的互锁控制,保证△与YY两种接法不可能同时出现,同时KM2辅助常闭触点接入KM1线圈回路,KM1辅助常闭触点接入KM2线圈回路,也形成互锁控制。
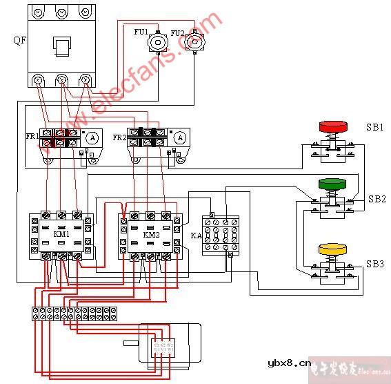
三、定子接线图如下

低速时绕组的接法 高速时绕组的接法

相关热词:#双速
详解X/Y安规电容作用及安全等级
时间:2026-03-05
去耦电容和bypass电容、滤波电容的原理和区...
时间:2026-03-05
信号电路与电源电路中去耦电容、旁路电容、...
时间:2026-03-05
旁路电容的作用与应用原理详解
时间:2026-03-05
片状三端子电容器的注意事项及使用技巧
时间:2026-03-05
瓷片电容104是多大 瓷片电容104耐压值是多少
时间:2026-03-05
详细瓷片电容规格/分类
时间:2026-03-05
陶瓷电容耐压不良失效分析及常见七大失效原...
时间:2026-03-05
中国超级电容器市场达100亿元
时间:2026-03-05
MLCC高容物料急剧短缺,跟三星note7爆炸案有...
时间:2026-03-05
彩灯电路
时间:2026-03-05
三相异步电动机原理
时间:2026-03-04
转角测量电路
时间:2026-03-05
经典的正弦波发生电路
时间:2026-03-05
三相异步电动机的七种调速方式
时间:2026-03-04
电度表的工作原理
时间:2026-03-04
电动机单线远程正反转控制电路图
时间:2026-03-04
三相异步电动机的拆装详讲
时间:2026-03-04
USB转232电路图
时间:2026-03-04
石英晶体钟脉冲发生器
时间:2026-03-05