电工基础2026-03-04
直流电动机原理动画演示
电工基础2026-03-04
电机定义:是指依据电磁感应定律实现电能的转换或传递的一种电磁装置。电动机也称电机(俗称马达),在电路中用字母“M”(旧标准用“D”)表示。它的主要作用是产生驱动转矩,作为用电器或各种机械的动力源。 以下
电工基础2026-03-04
直流电动机按结构及工作原理可分为无刷直流电动机和有刷直流电动机。有刷直流电动机可分为永磁直流电动机和电磁直流电动机。电磁直流电动机又分为串励直流电动机、并励直流电动机、他励直流电动机和复励直流电动机。
电工基础2026-03-04
按三相异步电动机的通风冷却方式 可分为自冷式三相异步电动机、自扇冷式三相异步电动机、他扇冷式三相异步电动机、管道通风式三相异步电动机。按三相异步电动机的安装结构形式 可分为卧式三相异步电动机
电工基础2026-03-04
三相异步电动机转速公式为:n=60f/p(1-s) 从上式可见,改变供电频率f、电动机的极对数p及转差率s均可太到改变转速的目的。从调速的本质来看,不同的调速方式无非是改变交流电动机的同步转速或不改变同步转两种。 在
用光线控制电动机的方法电路
电工基础2026-03-04
用光线控制电动机的方法电路
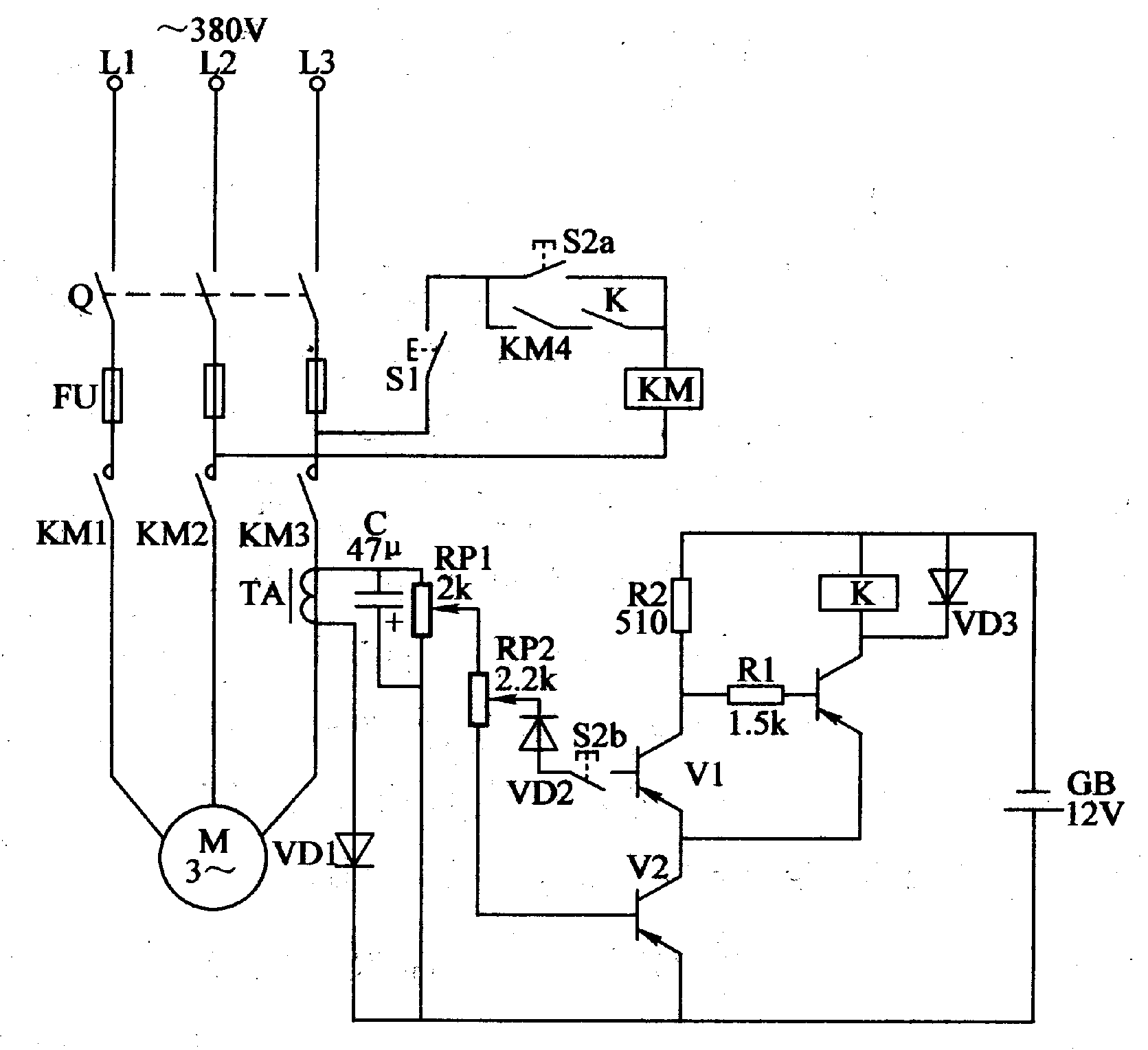
电动机过热保护装置电路原理图
电工基础2026-03-04
电动机过热保护装置电路原理图
电动机保护器电路图
电工基础2026-03-04
电动机的缺相保护器电路图 该装置的电路工作原理见图21。在A、B、C三相中均串入LSE器件。当三相电力线均完好时,LSE的④脚输出高电平,此时继电器J1、J2、J3均处于吸合状态,从而使三相交流接触器CJ吸合,其触点C
电动机断相保护器电路图
电工基础2026-03-04
电动机断相保护器电路图 本例介绍一款电动机断相保护器电路,它具有电路简单、成本低、易制作、工作稳定可靠、无需调试等特点,适合中、小型三相交流电动机的断相过电流保护。 电路工作原理 该电动机断相保护
电工基础2026-03-04
电容分相单相电动机接线图及相量图
交流电动机节能启动器
电工基础2026-03-04
交流电动机的启动电流是正常运转电流的几倍,甚至十几倍,本启动器可以对电动机动实现降压限流启动,节能效果显著,电路如图所示:
交流电动机的制动电路图
电工基础2026-03-04
交流电动机的制动电路使用双向可控硅在单向导通时产生强大的直流磁场制动力矩.
用集成电路控制的通用电动机调压器电路图
电工基础2026-03-04
用集成电路控制的通用电动机调压器电路图:500-1000W交直流通用电动机在接通时,启动电流大,常常烧保险比,下图所示,当双向可控硅导通时,能使相拉控制电路的电流自零开始慢慢增到额定值。。。。该电路系用TCA780
感应电动机的控制电路图
电工基础2026-03-04
感应电动机的控制电路图:下图是感应电动机的控制电路,直流逻辑指令通过光电耦合器控制集成电路零开关F,零压开关输出触发双向可控硅三相电动机的起动或停止。
电工基础2026-03-04
利用转换开关预选的电动机正反转起停控制的电路图
电工基础2026-03-04
双速电动机的控制电路图
花盆干湿报警器
时间:2026-03-04
家电红外遥控器电路图
时间:2026-03-04
简易传声门铃电路
时间:2026-03-04
戒烟警告器电路
时间:2026-03-04
煤气熄灭报警器电路
时间:2026-03-04
模拟自然风电扇电路
时间:2026-03-04
闹钟间歇电铃电路
时间:2026-03-04
能记忆的音乐门铃电路
时间:2026-03-04
敲门告知电路
时间:2026-03-04
闪烁指示灯门铃电路
时间:2026-03-04
三相异步电动机原理
时间:2026-03-04
电风扇红外遥控器2
时间:2026-03-04
由三个接触器组成的电动机正反转控制电路图
时间:2026-03-04
电动机单线远程正反转控制电路图
时间:2026-03-04
三相异步电动机的拆装详讲
时间:2026-03-04
三相异步电动机的七种调速方式
时间:2026-03-04
USB转232电路图
时间:2026-03-04
lm324比较器电路图
时间:2026-03-04
二冲程柴油机的工作原理
时间:2026-03-04
涡轮发动机的工作原理
时间:2026-03-04