
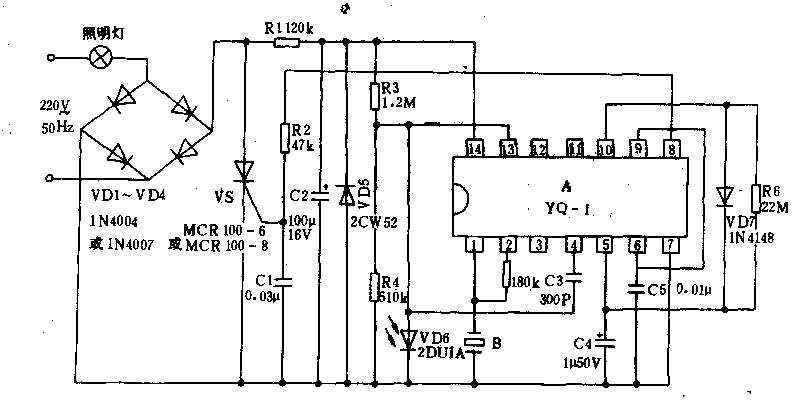
工作原理如图,它是该声、光定时开关原理方框图。由压电陶瓷蜂呜片、声音放大、检波、整形、光控、电子开关、定时电路和交流开关所组成。工作原理如图所示。陶瓷压电蜂呜片B把声音变成直流控制电压。白天,光电二极管vD6受光后,阻值变小,集成电路A的13脚电位被箍位到⑦脚地电位,则⑤脚呈低电位,C4内无电荷。⑧脚呈低电位,晶闸管vs截止,灯泡不亮。在Vs截止时,直流电压经R1降压后加到滤波电容c2、稳压二极管vD5上端,对c2充足电。当充到A的14脚与⑦脚为4v直流电压即可。vD5为稳压值4v左右的稳压二极管,以保证c 2两端电压不超过5v。天黑无光照射vD6时,vD6阻值变大,13脚电位将上升到开启电压值,A内部的电子开关受声控而工作,把c2储存的电荷通过⑤脚转储到c4中,则⑤脚电位上升C4通过K6把直流电压送到l0脚放大.经输出8脚通过限流电阻R2给vS控制端个正偏电压,VS导通,灯泡燃亮。发光40S左右,以放电完毕,8脚电位为低电位,VS问极无触发电压并处r反偏状态.则v3又断电灯熄火。灯泡发光时间的长短是由[时间常数R6、C4的参数所决定。R1、R2分别具有降压和减小对vs启动冲力电流.保护灯泡之功能,使灯泡寿命延长。C1为抗干忧电容.用于消除灯泡发光抖动现象。

相关热词:#电子开关
开关二极管,开关二极管是什么意思
时间:2026-03-04
开关二极管的作用的什么?
时间:2026-03-04
开关二极管的开关作用的实现原理
时间:2026-03-04
开关二极管的原理与参数
时间:2026-03-04
开关二极管的种类和参数有哪些?
时间:2026-03-04
开关二极管型号大全
时间:2026-03-04
PIN二极管,PIN二极管是什么意思
时间:2026-03-04
pin光电二极管原理
时间:2026-03-04
PIN光电二极管应用大全
时间:2026-03-04
PIN光电二极管的光电转换原理
时间:2026-03-04
三相异步电动机原理
时间:2026-03-04
电风扇红外遥控器2
时间:2026-03-04
由三个接触器组成的电动机正反转控制电路图
时间:2026-03-04
电动机单线远程正反转控制电路图
时间:2026-03-04
三相异步电动机的拆装详讲
时间:2026-03-04
三相异步电动机的七种调速方式
时间:2026-03-04
USB转232电路图
时间:2026-03-04
焊机工作原理方框图
时间:2026-03-04
碰焊机的原理及种类
时间:2026-03-04
电度表的工作原理
时间:2026-03-04