静电感应晶体管(SIT),静电感应晶体管(SIT)是什么意思
电工问答2026-03-04
静电感应晶体管(SIT),静电感应晶体管(SIT)是什么意思 静电感应晶体管(SIT),是在普通结型场效应晶体管基础上发展起来的单极型电压控制器件,有源、栅、漏三个电极,它的源漏电流受栅极上的外加垂直电场控制。其结
什么是静电感应晶体管
电工问答2026-03-04
什么是静电感应晶体管 静电感应晶体管 源漏电流受栅极上的外加垂直电场控制的垂直沟道场效应晶体管,简称SIT。静电感应晶体管是一种新型器件,可用于高保真度的音响设备、电源、电机控制、通信机、电视差转机以及雷
集成门极换流晶闸管(IGCT)是什么意思
电工问答2026-03-04
集成门极换流晶闸管(IGCT)是什么意思 集成栅极换流晶闸管IGCT(Intergrated Gate Commutated Thyristors)是1996年问世的用于巨型电力电子成套装置中的新型电力半导体器件。IGCT是一种基于GTO结构、利用集成栅极结构
集成门极换流晶闸管,IGCT的工作原理是什么?
电工问答2026-03-04
集成门极换流晶闸管/IGCT的工作原理是什么? 交流变频调速技术是电气传动的发展方向之一,它具有调速性能优越和节能效果显著两大特点,因此,在国民经济中起着越来越大的作用。就目前情况来看,变频器中较常用的电力
电工问答2026-03-04
晶体管特性图示仪,晶体管特性图示仪是什么意思 体管特性图示仪它是一种能对晶体管的特性参数进行测试的仪器。 一般使用简介:
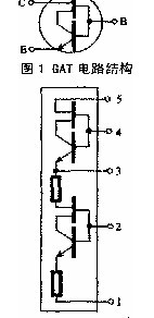
联栅晶体管(GAT)是什么意思?
电工问答2026-03-04
联栅晶体管(GAT)是什么意思? 联栅晶体管是一种新型功率开关半导体器件,简称GAT。GAT是介于双极型晶体管(BJT)和场效应晶体管(FET)之间的特种器件,兼有BJT和FET的双重优点,特别适合用作荧光灯电子镇流器中的功率
电工问答2026-03-04
MOS控制晶闸管(MCT),MOS控制晶闸管(MCT)是什么意思 MOS栅极控制晶闸管充分地利用晶闸管良好的通态特性、优良的开通和关断特性,可望具有优良的自关断动态特性、非常低的通态电压降和耐高压,成为将来在电力装置和电
电工问答2026-03-04
什么是MOS控制型晶闸管 MCT(MOS Controlled Thyristor)是将MOSFET与晶闸管组合而成的复合型器件。MCT将MOSFET的高输入阻抗、低驱动功率、快速的开关过程和晶闸管的高电压大电流、低导通压降的特点结合起来,
电工问答2026-03-04
P沟MOSFET,P沟MOSFET是什么意思 MOSFET是Metal-Oxide-Silicon Field Effect Transistor的英文缩写,平面型器件结构,按照导电沟道的不同可以分为NMOS和PMOS器件。MOS器件基于表面感应的原理,是利用垂直的栅压VGS实
电工问答2026-03-04
常用大功率场效应管参数120种 型 号 耐压(V) 电流(A) 功率(W) 型 号 耐压(V) 电流(A)
电工问答2026-03-04
晶体管和可控硅的封装形式
电工问答2026-03-04
大功率模块和(可控硅 IGBT GTR 场效应)模块大全
热电偶分度表(详细篇)
电工问答2026-03-04
热电偶分度表(详细篇)
什么是电涌,电涌的产生及危害
电工问答2026-03-04
什么是电涌,电涌的产生及危害 什么是电涌 国际电工委员会IEC664-1(低电压系统中电器设备绝缘配合的一般要求)中定义:超过相应稳定的电压峰值的任何电压峰值。瞬间的高电压导流导通,当电压及电流高于正常值
CMOS晶体管,CMOS晶体管是什么意思
电工问答2026-03-04
CMOS晶体管,CMOS晶体管是什么意思 金属-氧化物-半导体(Metal-Oxide-Semiconductor)结构的晶体管简称MOS晶体管,有P型MOS管和N型MOS管之分。由 MOS管构成的集成电路称为MOS集成电路,而由PMOS管和NMOS管共同构成的互
电工问答2026-03-04
什么是本体偏压/次临界漏电 (ISUBTH)/High-k 电介质/High-k 电介质/GIDL 本体偏压通过改变电路上的电压来减少电流泄漏的技术。将电路主体连接至偏压电压来控制晶体管阈值。可通过应用一个反向偏压来减少待机电流泄
东芝牌RAC-45NHE型空调机电路图
时间:2026-03-04
杜鹃牌XPB2-3型洗衣机电路图
时间:2026-03-04
干衣机电路图
时间:2026-03-04
古桥牌KC-30DE型牌窗式空调机电路图
时间:2026-03-04
好乐牌KC-42R型窗式空调机电路图
时间:2026-03-04
佳乐牌KCS-12型窗式空调机电路图
时间:2026-03-04
江南牌KC-20型窗式空调器电路图
时间:2026-03-04
江南牌KCD-31型窗式空调器电路图
时间:2026-03-04
金羚牌XQB30-5型全自动洗衣机电路图
时间:2026-03-04
日产AW B310B型洗衣机控制器电路图
时间:2026-03-04
瞬间抑制二极管(TVS)/瞬间抑制二极管(TVS)是...
时间:2026-03-04
常用整流二极管型号大全
时间:2026-03-04
S/HS固态继电器原理简介
时间:2026-03-04
稳压二极管的选用和代换
时间:2026-03-04
TVS器件的电特性有哪些
时间:2026-03-04
TVS二极管的分类/应用,TVS二极管的特点/选用...
时间:2026-03-04
快恢复二极管,快恢复二极管是什么意思
时间:2026-03-04
PN结温度传感器工作原理是什么?
时间:2026-03-04
双向二极管起什么作用?
时间:2026-03-04
半导体材料的主要种类有哪些?
时间:2026-03-04